来源:国际投行研究报告

新湖期货终止IPO:控制人黄伟的朋友圈包括魏东解直锟等金融大鳄,327国债赚7.5亿起家 !  IPO减员愈演愈烈:6月第一周19家公司终止上市

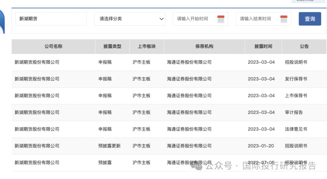
上交所发行审核网站显示, 新湖期货已经终止了IPO,资本市场第五家期货公司之路戛然而止!

1、进入6月以后,沪深2市IPO减员愈演愈烈,本来是芒种播种的一周, 没想到是很多公司梦魇的一周 ,审核网站显示, 6月第一周就有19家公司终止上市,其中上交所12家,深交所7家,此前有分析认为IPO应该在7月进入正常状态,那么接下来的三周可能是在申IPO最惨列的时间。

2、新湖期货早在2022年就提出了IPO申请,2023年3月全面注册制后转入上交所审核流程,很快获得了问询 ,但保荐人 海通证券 和公司一次问询回复都没给出,就在2024年6月5日终止了IPO。当时的证监会发审委曾经对新湖期货发出了反馈意见,凌通社也曾经根据这份反馈意见写过报告,放在后面大家可以当故事看。

3、有意思的是,和大部分撤回公司的理由是保荐人和公司主动提出相比, 新湖期货的理由中没有拟上市公司而只有保荐人申请,暗示出保荐人和拟上市公司之间的分歧。 2024年5月8日,上交所因海通证券在对科利德IPO保荐工作中的不尽责对其进行了通报批评,海通证券在IPO市场正如履薄冰,最近多个海通证券的项目撤回。

4、新湖期货的控制人 黄伟是资本市场老将,目前至少控制着 新湖中宝 湘财股份 两家上市公司,参股了 中信银行 、阳光保险等多家金融机构。他的朋友圈包括魏东解直锟等已经战死的资本大鳄,他曾经参与中国金融史上 最残酷的327国债大战,当时的参与人包括北京人魏东(背靠已经被抓的当时证监会副主席王益)、上海人周正毅、四川人刘汉、辽宁人袁宝璟,现在,魏东已跳楼、刘汉和袁宝璟已经执行死刑,周正毅已经没了声音。

5、新国九条之后,证监会要求提高上市公司质量。 3月15日,证监会修订实施《首次公开发行股票并上市辅导监管规定》,目前 建立口碑声誉制度,辅导机构应提交有关辅导对象及其实际控制人、董监高口碑声誉说明,作为后续环节重要参考。

控制人黄伟和魏东解直锟有交集是327国债最后幸存者

新湖期货IPO

控制人 黄伟 是327国债最后的幸存者

和已故金融大佬 魏东 解直锟 等联手做了很多事

证监会网站发布了新湖期货IPO反馈意见,一共38问,有意思的是,证监会昨天也发布了全面注册制的征求意见稿,截止时间是2月16日,没看到具体实施时间,但假如新湖期货回复的时间长, 那么我们有望在上交所看到更多的公开的信息披露。

新湖期货的控制人黄伟,作为第一代富豪,历经中国资本市场最残酷最原始的时期,目前已经在A股拥有多家上市公司,投资无数。 而令人关注的是,黄伟是当年327国债事件现在依然没出事的幸存者,327国债的名人包括北京人魏东(背靠已经被抓的当时证监会副主席王益)、上海人周正毅、四川人刘汉、辽宁人袁宝璟,现在,魏东已跳楼、刘汉和袁宝璟已经执行死刑,周正毅已经没了声音。公开媒体报道,黄伟正是在魏东的多头阵营中在327国债事件中大胜。

黄伟:事后获利7.5亿元,创立浙江新湖,一度成为浙江首富(2007福布斯中国富豪榜第15位),新湖系已控股多家金融上市公司和机构。

// 黄伟: 最低调的富豪

证监会反馈意见一共36问,其中凌通社最感兴趣的是实际控制人。和其他大老板引进各种投资者不同, 公司的控制人竟然只有黄伟和老婆,二人合计控制公司91.67%股份的表决权。

对于黄伟,公开资料上,几乎没有黄伟的公开采访报道,只是知道他是温州的教师出身,故事是90年代初到杭州国际大厦租下几个柜台卖眼镜,然后在那个年代买了很多认购证而撞入资本市场。

1、关于实际控制人。

公司的实际控制人为黄伟,其通过公司控股股东兴和投资控制公司54.00%的股份, 通过众孚实业、新湖集团、新湖中宝分别控制公司22.00%、8.00%、7.67%的股份,合计控制公司91.67%股份的表决权。李萍持有新湖集团22.76%的股权、间接持有发行人5%以上的股份,与黄伟为夫妻关系。 此外,黄伟持有的新湖集团部分股权存在质押,黄伟以其持有的新湖集团7.90%股权为光大信托投资新湖集团享有的对差额补足义务人/股权远期回购义务人的全部债权提供质押担保,以其持有新湖集团11.28%股权为奋华投资投资新湖集团享有的本金及其对应的投资收益提供质押担保。

请发行人说明:(1)结合李萍的股权比例、在发行人任职情况(如有)、董事会与股东大会中黄伟、李萍的投票情况,说明报告期内未将李萍认定为共同实际控制人是否符合公司实际;(2)结合李萍工作简历、持有新湖集团股权比例的变化和资金来源等情况说明李峰是否实际参与发行人经营管理活动;(3)李萍及其关联方与发行人之间是否涉及同业竞争、关联交易、违规担保、资金拆借等,李萍是否有重大违法情况,是否存在通过未认定李萍为共同实际控制人从而规避实际控制人变动、同业竞争等发行条件或股份锁定等监管要求的情形;(4)黄伟所持新湖集团股权的质押原因及具体情形,是否存在逾期还款导致债权人行使质权的法律风险,是否对发行人股权结构和控制权的稳定性存在不利影响;前述股权质押是否会导致发行人实际控制人负有较大的债务,从而影响控制权的稳定性。请保荐机构、发行人律师核查并发表明确意见。

// 恩遇魏东: 327发财7.5亿

黄伟发大财,是恩遇了魏东。这可以追溯至“327”时代。 魏东当时是中经开的操盘手,黄伟是中经开最大的客户和受益者之一。

所谓327,是一个国债期货合约的代号,对应1992年发行1995年6月到期兑付的3年期国库券,该券发行总量是240亿元人民币。

327现券的票面利率为9.5%,如果不计保值贴补,到期本息之和为128.5元。在1991-1994中国通胀率一直居高不下的这三年里,保值贴息率一直在7%-8%的水平上。 中国财政部是否对之实行保值贴补,将贴补多少,在事件发生之前并不确定,这就使得国债期货具有了投机获利的空间。

当时中国第一大券商万国证券的总经理,有证券教父之称的管金生预测,327国债的保值贴息率不可能上调,估计应维持在8%的水平。按照这一计算,327国债将以132元的价格兑付。因此当市价在147元-148元波动的时候,万国证券联合高岭、高原兄弟执掌的辽宁国发集团,开始大举做空。

与之抗衡的,多方主力是中经开——财政部唯一独资的信托公司,中经开选择对327国债大举做多。

1995年2月23日,10点15分上交所开市后,327国债期货即以149.50元价格开盘,比前日收盘148.21元价高出1.29元。随后辽国发的高岭、高原兄弟在形势对空头极其不利的情况下利用旗下控股公司无锡国泰的交易席位以148.50的价格违规抛出200万口空仓(当时上交所限制的单一机构持仓总量为40万口)。

上午11点,万国证券总经理管金生紧急约见上交所总经理尉文渊,请求暂停交易,撤销辽国发的200万口空仓违规交易,但被尉文渊拒绝。

下午13点开盘,辽国发突然由空翻多,将其50万口做空单迅速平仓,反手买入50万口做多,327国债因此在1分钟内涨了2元,并达到当天最高价151.98元,比前一交易日的收盘价上涨了3.77元。 辽国发这一举措将万国逼向了生死边缘,如果按照当时万国的持仓量和现行价位交割,它将要亏损十几亿元资金。

下午16点22分13秒开始,在管金生的命令下,万国证券为了扭转败局疯狂做空327国债。在没有足够保证金的前提下,从C55和P89的两个自营席位连续打入23笔(每笔90万口)空单,共2070万口,同时用万国证券公司下属黄浦营业部的C73自营席位做多接盘向下锁定价位。七分钟的时间,管金生用700多万口面值达2112亿元空单砸盘,1994年全国GDP不过四万多亿。

万国证券违规下单,透支卖出国债期货。最后一个卖单对应面值1460亿元,而327国债总价值仅仅300亿元。最终,上交所决定取消最后8分钟的交易。 这一决定,使被万国证券翻转的盘子,再次倒转过来: 万国证券亏损16亿人民币濒临破产。

如果按管金生抡板斧砍出的收盘价到期交割,万国赚42亿元;如果按151.30元平仓,万国亏16亿元。许多人记住了这一天,在千万身家的暴发户与债台高筑的穷光蛋之间转了个来回。

这场惊心动魄的金融大战改变了无数人的命运,也正是这一天,戴志康因为赌对了方向,迅速完成原始积累,但327就像一个魔咒,凡是参与其中发了大财的,结局都令人唏嘘。

327国债事件魔咒

无数个注定留存中国金融史的名字因这场战役而改变了命运。当时输赢双方,在二十多年后几乎无人善终。

1、赢家魏东-跳楼

327国债事件中经开事实上的主操盘人,当时只有28岁,研究生毕业仅2年,后来创立证券市场“涌金系”的魏东。

在国债期货战役中,有消息称魏东个人赚了约2个亿,此后魏东创立自己的公司并控股九芝堂、 千金药业 国金证券 等上市公司,“涌金系”大业初成。

2008年的一个夜晚,41岁的魏东在接受调查、被问话几天后,从北京一栋高楼的17层一跃而下,身后留下巨大的谜团。 当年6月8日,涌金系掌门人魏东身故的第32天,原国开行副行长王益被中纪委“双规”,外界认为这是魏东事件的余波。

2、赢家周正毅-逍遥

有消息称,周正毅在327国债期货事件中赚了大钱,1996年、1997年炒股发了大财,被《福布斯》杂志封为上海首富,疯狂扫货香港豪宅。周正毅曾因操纵证券交易价格罪和虚报注册资本罪被判3年徒刑,2006年刚刚结束刑期。一年之后,他又因挪用资金、行贿和虚开增值税发票等五项罪名被判16年徒刑。不过周正毅也做了一件好事,入狱期间,他为上海提篮桥监狱的每个牢房都安装了空调。

3、赢家刘汉-枪毙

期货市场一战成功后跻身亿元富豪之列。1997年成立四川汉龙集团,拥有境内外上市公司5家、有全资及控股企业30多家,身价500亿,据说还跟不少女明星有染。 刘汉被认为是327国债事件大佬中走得最远的,被捕时已经有400亿身家,身负多条人 命。

2015年2月9日,经最高人民法院核准,咸宁市中级人民法院依法对犯组织、领导、参加黑社会性质组织罪、故意杀人罪等罪的罪犯刘汉、刘维等5人执行死刑。

4、赢家袁宝璟-枪毙

327事件后,贫穷出身的袁宝璟彻底翻身,一口气吞下60多家企业,人称“收购大王”、“商业奇才”、“北京的李嘉诚”。

而后他因在四川炒期货,跟刘汉结怨,随后指使下属刺杀刘汉未遂。这个下属出身警察,后来多次要挟袁宝璟,袁宝璟的兄弟们就刺杀了这个人。 后来案情的发展令人惊讶,2006年法院判处袁宝璟四兄弟三人死刑一人死缓。

5、输家管金生

管金生,327国债事件中空方主力万国证券总经理

327事件是管金生的命运拐点,也是万国证券的拐点。 万国证券亏损达56亿人民币,濒临破产,1996年7月16日与申银证券合并为申银万国证券公司。1995年,管金生辞职后在海南被捕,罪名为贪污、挪用公款40余万元,1997年2月3日,以行贿和挪用公款罪被判有期徒刑17年,没有追加金融罪名。

6、输家宁财神

宁财神,真名陈万宁。大学毕业后跟他父亲学习期货交易,在上海做起了期货交易员,1994年的时候他才19岁。 327事件发生那天,宁财神的交易席位上亏损了七千多万,但他说,赌徒都这样,只要没陪光,就不会下赌桌。

2005年他担任电视连续剧《武林外传》总编剧,该作品获得巨大成功,2013年7月14日起,成为《非诚勿扰》 的点评嘉宾。然而2014年6月26日,宁财神因吸毒被抓,已有近7个月的吸毒史。

此外,中国经济开发信托投资公司:于2002年6月7日因严重违规经营被央行撤销。

戴学民:1995年在北京遭到不明身份人员刺杀,伤及肝部,之后下落不明。于2001年8月潜逃出境,列入2015年中华人民共和国红色通缉令代号A-19/1-2002。于2015年改换身份持外国护照潜回国内,4月25日11时以涉嫌贪污1100万元被捕。

高原、高岭兄弟:该事件后巨亏。事后以违规交易和金融诈骗立案,辽国发案涉及数百亿元,兄弟俩潜逃出国。

尉文渊:事后因监管责任辞离上交所,05年投资华锐风电,13年又辞离华锐风电。

黄伟:事后获利7.5亿元,创立浙江新湖,一度成为浙江首富(2007福布斯中国富豪榜第15位),新湖系已控股多家金融上市公司和机构。

恩公魏东:黄伟一直不离不弃

与涌金系不曾走远,黄伟、魏东背影叠显

在黄伟商业帝国构建的进程中,不得不提到魏东这个人。黄伟与这位已故的涌金系前掌舵人有着密切的关系。

有报道称,黄伟的发家,背后是魏东,“黄是听从魏的”。据媒体报道称,虽然黄伟年纪较魏东长近八岁,但其对魏的才华和眼光相当敬佩。

新湖系、涌金系曾在中宝股份“并肩作战”,在2001年中宝股份(彼时“新湖中宝”的股票简称为“中宝股份”)早期的年报中,新京报记者看到新湖系、涌金系以及高存班时任法人的杭州五环,第一次同框出现在同一家上市公司中宝股份十大股东的名单内。

1999年中宝股份的招股书中,魏东旗下刚刚创办3年的上海涌金实业有限公司以3.24%的持股比例,成为第六大股东方;而新湖集团的黄伟则以7.18%的股份位居第三位。2001年下半年,杭州五环以持股205万股(占0.98%)成为中宝股份第10大股东。

*ST北生(即现在的ST慧球)被借壳的资本操作“故事”中,也闪现了黄伟主导的新湖系与魏东掌舵的涌金系间的某种默契。

广西慧金科技股份有限公司,即ST慧球,是一家主营物业管理服务的A股上市公司。2010年1月20日,它还被称为*ST北生,一天之内连发多份资产重组方公告。在这些公告中,新京报记者看到了涌金系魏东生前最后两个月资本运作的细节。

当日,*ST北生公告称,将以2.6元/股的发行价格向浙江郡原地产股东方定向发行13.5亿股,以购买郡原地产100%股权。而在郡原地产股东名单中,魏东的遗孀——陈金霞名列第三大股东。2008年2月15日郡原地产增资扩股,魏东以货币出资认缴了5625.35万股,占比8.036%。当年4月29日魏东跳楼自杀后,其配偶陈金霞继承了上述股份。

后来,重组遇到房地产再融资政策停摆,郡原地产借壳*ST北生的计划失败。

直至2013年8月,尘封三年的房企再融资重启。而此时,*ST北生这个壳资源“兜转”到了新湖系手上,借壳的主角变成了德勤集团。在*ST北生2013年1月17日发布的《德勤集团2013年盈利预测与审核报告》中的董事签名,新京报记者看到了新湖系黄伟妻子李萍的签名。*ST北生当天的另一份报告显示,李萍以2424.26万股(占比10.27%),位列德勤集团第六大股东。

2012年12月28日,德勤集团与*ST北生签署《重大资产置换及发行股份购买资产协议》,交易完成后,*ST北生拥有德勤集团100%股权。

新湖系与涌金系在同一个“壳”上接力。在21世纪经济报道2013年8月的报道中,这一次双方的资本操作“互动”被戏称为“肥水不流外人田”。而在其后涌金系立足资本市场的过程中,黄伟及其带领的新湖系更是通过杭州五环实业有限公司以及数位自然人股东,参与到魏东的资本运作中。

2002年1月23日,长沙九芝堂集团(持有上市公司九芝堂60.74%股权)整体出售给湖南涌金、杭州五环实业等公司。湖南涌金占49%的股权,进而间接持有九芝堂29.76%的股权(后经多次股权变更,持股增至59.5%)。涌金系正是通过九芝堂收购案例,第一次真正控股一家上市公司。

天眼查信息,杭州五环实业现名为杭州方豪实业有限公司。宁波昌达贸易有限公司是第二位的股东方,同时参股新湖期货有限公司,高存班为其实控人。

高存班亦是济和集团董事。而济和集团属浙商系,与新湖中宝不仅保持互相担保的关系,还与新湖中宝一起参股盛京银行。天眼查显示,济和集团实控人王学超与新湖系交集颇深,曾任海宁绿城新湖房地产开发有限公司董事长、新湖地产集团有限公司高管、新湖在温州及杭州房地产开发有限公司的高管。

在仇晓慧的2010年版《私募江湖》一书中,我们看到了另一面的黄伟。

书中写到,在涌金系魏东的葬礼现场,人们看到,送花圈者有浙江新湖(控股)集团董事长黄伟等,不知是否在纪念未完成的“系类家族企业”某种宏愿。

黄伟的哥们解直锟

魏东之后,黄伟的另一个好朋友是中植系的解直锟。

2012年前后,黄伟与中植系联手做了很多动作,包括一起收购西北矿业,一起合股成立财富销售公司新湖财富。

截至2017年6月,新湖财富旗下累计管理规模突破5000亿元。

中植系去年开始已经焦头烂额。2021年,心脏病离世,留下毛阿敏处理公司。

黄伟资产版图

根据招股书披露的数据,梳理新湖系的主要关联方发现,目前黄伟控制的核心公司有23家。

按照新湖集团的官方介绍,金融业已经成为该集团仅次于地产的第二大产业。其入股的金融机构涵盖了银行(中信银行、温州银行)、证券(湘财证券)、保险(阳光保险),加上新湖期货,新湖系已经集银行、保险、证券、期货等金融牌照于一身。

除此之外,现在新湖中宝几乎成为了”新湖系“的金融扩张平台。新湖中宝2021年度年报显示,其对外长期股权投资企业31家,包括4家合营企业,27家联营企业。近年新兴的科创领域,如趣链科技、万得信息、邦盛科技等公司背后,均活跃着“新湖系”身影。

证监会主要问题

新湖瑞丰高管合谋骗取厦门纳百圆数千万资金

1、关于诉讼、仲裁及投诉。申报文件披露,发行人及控股子公司报告期内涉及三起标的金额较大的重大诉讼、仲裁。此外,另有关于“新湖瑞丰高管合谋骗取厦门纳百圆数千万资金”等媒体新闻,反映发行人子公司新湖瑞丰与其场外衍生品交易的客户之间存在纠纷。前述客户向12386投诉热线、上海证监局及中期协投诉新湖瑞丰存在“擅改交易规则”、“虚构交易机构”等情况。请发行人说明:(1)未决诉讼案件目前的进展情况,发行人对上述案件后续发展的研判,是否可能因此承担赔偿责任,是否由此导致重大偿债风险和或有事项;(2)逐项说明上述场外衍生品交易客户所反映事项是否属实,发行人及新湖瑞丰是否存在违规展业的行为,发行人及新湖瑞丰的董事、监事、高级管理人员是否存在骗取客户财产等违法违规行为;相关客户是否已提起诉讼或仲裁;(3)发行人是否已在招股说明书中充分披露上述诉讼、仲裁等的具体情况及其进展,包括受理、诉讼请求、判决或裁决、执行情况,相关事项对发行人的影响或引起的风险情况。请保荐机构、发行人律师核查并发表明确意见。

1、关于资产管理业务收入。招股说明书披露,报告期内,公司资产管理业务收入分别为262.43万元、584.93万元和697.51万元。请发行人在业务与技术章节补充披露报告期各期末发行人受托管理资金的客户数量、各类资产管理计划的收入金额及占比。请发行人说明:(1)除已披露的报告期内设立的资产管理计划外,其他报告期内存续资产管理计划的名称、金额,发行人对发起设立产品是否有保本或最低收益承诺;(2)各项资产管理计划受托资金投资范围,以及各期末在各范围内的投资规模;(3)发行人自有资金参与自身发起或管理的资产管理计划情况,包括参与的具体资产管理计划名称、投资金额和占比,收益的金额和占比;(4)受托管理资产规模、客户数量、产品数量波动的原因,与行业发展状况是否一致;(5)公司将结构化主体纳入合并范围的标准与可比公司是否存在差异及其原因;结合会计政策、资产管理计划具体条款等,逐项说明报告期各期公司管理的结构化主体纳入或不纳入合并范围的依据,会计核算是否符合企业会计准则的规定;(6)比照资管新规具体要求,列表说明报告期末存续的资管项目主要指标是否符合规定。请保荐机构对上述事项核查并发表明确意见,请申报会计师对上述(1)至(5)项核查并发表明确意见。

关于利息净收入。招股说明书披露,报告期内,公司实现的利息净收入分别为7,447.13万元、8,770.20万元和12,344.40万元。请发行人说明:报告期各期日均保证金规模,影响客户保证金规模的具体因素,报告期内保证金规模变动的原因,利息净收入与相关业务规模的匹配性。请保荐机构、申报会计师说明对上述事项核查并发表明确意见。

特别声明:以上内容仅代表作者本人的观点或立场,不代表新浪财经头条的观点或立场。如因作品内容、版权或其他问题需要与新浪财经头条联系的,请于上述内容发布后的30天内进行。

贝隆精密IPO:智能手机崩盘吓坏交易所赶快问询可持续经营能力从重大依懒舜宇光学到重大依懒安费诺:见证苹果大败小米OV

反做空周报:上周9家上市公司董监高离任,重庆啤酒、青岛银行董事长在列

美国5月份消费者通胀升幅达8.6%,本周或加息75个基点 ‘全球食品保护主义在加剧,20国限制出口