相关文章推荐
酒量小的煎饼  ·  Rollei Fotocamera ...·  2 年前    · 
酒量小的煎饼  ·  Ostatní použité ...·  2 年前    · 
酒量小的煎饼  ·  Použité filmové ...·  2 年前    · 
酒量小的煎饼  ·  ROLLEI Rolleicord III ...·  2 年前    · 
酒量小的煎饼  ·  Ostatní použité ...·  2 年前    · 
禄来Rolleiflex 施耐德Xenotar 75 3.5 五片版本专利介绍

禄来Rolleiflex 施耐德Xenotar 75 3.5 五片版本专利介绍

本文在2022年3月3日首发于公众号”Ale的摄影防潮箱“,封面感谢Spiserkake。

上回我们已经对 禄来五片六片问题,及蔡司Planar 75 3.5五片版本专利有了回答和介绍 ,今天就接着来看禄来双反的镜头:施耐德Xenotar 75 3.5五片版。

禄来在1956年推出的3.5E上,首次让3.5系列搭载了双高斯镜头,放弃了只把2.8系列当作豪华产品线的市场策略,Xenotar 75 3.5也从1957年开始大量投产, [1] 进一步拉开了与别家双反相机的差距。五片版一直生产到3.5F type 3上,在 机身编号 2,299,547后,被六片Xenotar 75 3.5取代。

德国专利DE1048024由Günter Klemt于1954年4月2日在德国申请,瑞士专利CH329443申请于1955年2月28日,美国专利US2831395申请于1955年3月25日。

Gunter Klemt是上世纪五六十年代施耐德最重要的设计师,你所听说的施耐德铭镜,十有八九出自于他之手:
Super-Angulon f8
Curtagon 28/4
Curtagon 35/2.8
Xenotar 80/2.8
Tele-Arton 85/4
Xenotar 135/3.5
还有数不胜数的施耐德电影镜头
Alice的镜头屋 施耐德Xenon 50/2专利介绍

不出所料,还是原教旨的施耐德Xenotar结构。这是传统Opic双高斯的一种简化设计,将光圈后的一组正负胶合简化为一组负弯月形透镜,最初由英国光学设计师Charles Gorrie Wynne发明。

他出生于莱斯特(Leicester),一开始在当地的Taylor, Taylor and Hobson(即TTH,Cooke的前身)公司工作,1943年跳槽到肯特的Wray公司,1944年2月25日就在英国申请了Cine Unilite f/1.9 (GB575075, US2487749)和Unilite f/2 (GB575076, US2499264)的专利。 [2]

Cine Unilite f/1.9

Harry Zöllner为禄来设计的Biometar 80 2.8、Günther Lange为禄来设计的Planar 80 2.8、同样由Günter Klemt为禄来设计的Xenotar 80 2.8都明显受到了Unilite的影响,这个五片Xenotar 75 3.5也不例外。不过五片Xenotar 75的第四片并不像前三者那么薄,这应当是为了加工的方便,提高这片质地相对脆弱的火石玻璃的成品率。

至于曲率、厚度和玻璃用料,见下表:

第一片和柯达Retina IIIc/IIIC上的Xenon 50 2的最后一片是同一种镧火石玻璃——LaF2。

LaF2日后在双高斯镜头里使用得极其广泛,Summicron 50/2,Planar 50/1.7都曾以这款玻璃为基础。猛一看似乎并没有什么新意,但别忘了Xenon 50/2专利申请于1953年,而LaF2推出的年份是多少呢?——1952年。也就是说,在设计时,施耐德公司与肖特玻璃厂紧密合作,因而得以在设计中采用了最新款的镧玻璃。
Alice的镜头屋 施耐德Xenon 50/2专利介绍

Xenon 50的专利DE1034881申请于1953年11月21日,本专利是1954年4月2日,两者相去不远。第二片是镧冕玻璃LaK10,第三片是SF7,第四片是SF10,第五片也是著名的镧冕玻璃LaK9。五片里有三片镧玻璃,施耐德为了禄来这个大单子,可以说是相当舍得下料了。

有趣的是,Klemt在两年前为禄来设计的Xenotar 80 2.8

玻璃用料确实精简,唯一一片镧玻璃在最后,是彼时仍然含有辐射的LaK11,但规格也并不显眼,前组的正镜使用重钡火石玻璃,节约成本的取向很明显,这点不如Planar。
Alice的镜头屋 施耐德Xenotar 80/2.8专利介绍(For Rolleiflex 2.8)

不知道是不是施耐德在2.8系列没有比过蔡司,要在3.5系列扳回一城呢?

Günter Klemt在专利文件开头就宣称本发明对球面像差、色差、彗差、像散、场曲和畸变都有非常好的校正,现在就先让我们看几张样片,有个主观感受。

以上两图感谢Uly

以下是根据专利模拟的性能:
像散/场曲和畸变

场曲比五片Planar 75还要大哟,不过好在像散控制很不错。有不到1%的枕形畸变。

轴向像差

轴向色散是红蓝色的;全开时球差过矫正,背景虚化偏硬,光斑会有轻微的亮边。

比较极端的工况,红色色散明显一点,光斑很脆

全开光圈点光源变形

彗差炸了啊,这会使边角劣化,焦外光斑变形。

背景光斑有变形,而且有亮边

轴向色散


倍率色散

和五片Planar 75差别不大。

全开相对照度

暗角比较小。

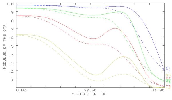
以下是白光MTF,线对为5-10-20-40 CY/MM
F/3.5全开

全开中心还不错,但边缘衰落比较快,这是许多类似结构镜头共有的特点,可能是受彗差影响比较大。

F/5.6

缩到5.6提升明显,中心和五片Planar 75一个水平,而且前半场比较均匀细腻,当是收缩光圈彗差大大减少,像散矫正出色,倍率色散也不大的原因。靠近边缘下降较快,场曲应负相当责任,不过彗差与倍率色散也有不少。

F/5.6,靠近边缘合焦

场曲确实很大。

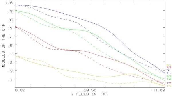
F/8

提升不大,主要是最边缘由于景深覆盖,反差拉回了一些,不过场曲的影响还是非常容易看出来的。

F/11

由于衍射,最中心有轻微的下降,全场均衡了一点,但场曲的影响还一直留存着。

近摄表现(0.9m)
场曲/像散和畸变

场曲减少了一些,像散校正依然很好,大约有0.5%的枕形畸变。

轴向像差

变化不大,球差还是过校正。

全开光圈点光源变形

彗差依旧,海量。

以下是白光MTF,线对为5-10-20-40 CY/MM
F/3.5全开

近摄时基本没有画质损失,这点比五片Planar 75好,但后者边缘衰减更少。

F/5.6

前半场可以说均匀细腻,外围有些分裂,整体还是可以看出有些场曲的。不过近摄,外围大概都是虚化了。

其它样片

小光圈下彗差影响并不大
五片光圈罪大恶极!
脆脆的光斑也挺好看的。以上六图均来自Flickr Dan Smith

总结

禄来施耐德五片版Xenotar 75 3.5作为一支名家设计的镜头,用料很是舍得,设计师也对它抱有很高的期望。但巨大的场曲、海量的彗差限制了它的性能,本家老大哥Xenotar 80的彗差校正也是一大败笔,这体现了施耐德在大光圈镜头设计能力上与西德蔡司的差距。不过好在像散校正出色,近摄性能也不错,还是能将一众Tessar结构的75 3.5甩在身后。当然,彗差导致的轻微旋转的焦外,球差过矫带来的脆硬脆硬的背景光斑,也未尝不是一种玄学。


附录 关于禄来双反相机的光圈叶片

禄来在1954/55年左右,将自家双反摄影镜头的光圈叶片由十片改为五片。比如2.8C是十片,2.8D是五片,3.5mx-evs机身编号14开头的是十片,第二批编号17开头的就是五片了。

综合一下我自己看的机器和网图,分界线应该在机身编号1,500,000左右。在此之前的机器,即便是Rolleicord IV这种相对低端的机器,都是十片;之后的机器,即使是禄来巅峰2.8F,都是五片,更不用说破产之后出的那些本就处处减配的“伪禄来”。

配图为禄来2.8B的十片光圈叶片。这个型号搭配的镜头是东德蔡司Biometar 80 2.8,结构与Xenotar 80 2.8类似,由Harry Zöllner设计。 [3] 禄来2.8B从1952年2月生产到1953年3月,仅出口到美国,共1250件,是最罕见的禄来双反。

感谢普翠的机

参考

  1. ^ 菲利普斯:《经典禄来》,西人、张娜、李晓晨译,北京:人民邮电出版社,2014年,第129-130页。
  2. ^ K. Rudolf, A History of the Photographic Lens, p.126.
  3. ^ Alice-Simulans 微博 https://m.weibo.cn/5731515879/4484144895781694
编辑于 2022-03-10 16:51

文章被以下专栏收录